HOME-Au
HOME-Au
24h
24h
USA
USA
GOP
GOP
Phim Bộ
Phim Bộ
Videoauto
VIDEO-Au
Home Classic
Home Classic
Donation
Donation
News Book
News Book
News 50
News 50
worldautoscroll
WORLD-Au
Breaking
Breaking
 

Go Back   VietBF > Others (Closed Forums) > Archive - Old News 2013 (closed)

 
 
Thread Tools
Default iPhone tương lai có màn hình siêu ấn tượng
Old 03-29-2013   #1
tonny_thuong
R10 Vô Địch Thiên Hạ
 
tonny_thuong's Avatar
 
Join Date: Feb 2008
Posts: 61,375
Thanks: 0
Thanked 0 Times in 0 Posts
Mentioned: 0 Post(s)
Tagged: 0 Thread(s)
Quoted: 0 Post(s)
Rep Power: 79
tonny_thuong Reputation Uy Tín Level 1tonny_thuong Reputation Uy Tín Level 1tonny_thuong Reputation Uy Tín Level 1
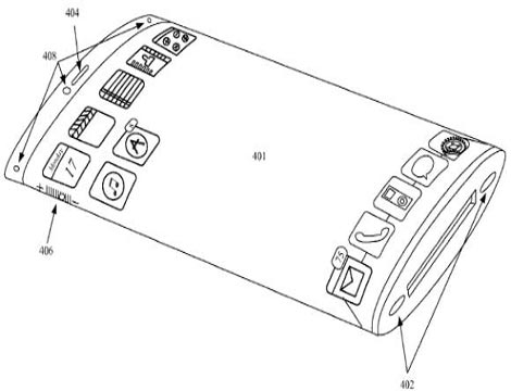
- Trong khi chúng ta đang chờ đợi thế hệ điện thoại với màn hình dẻocủa Samsung ra mắt thì Apple có lẽ cũng kịp tung ra điện thoại màn hìnhdẻo bọc quanh.

Trang mạng Apple Insider mới đưa tin về kế hoạch ra mắt màn hình dẻo cùng thiết bị trong suốt của Apple, và đây có thể là thiết kế mới cho thế hệ tiếp sau của iPhone.

Thực tế, nó miêu tả một chiếc điện thoại với 2 màn hình dẻo cùng làm việc. Thân máy làm bằng kính, có thể sử dụng màn hình AMOLED, bao quanh thiết bị.




Thiết kế tương lai của điện thoại iPhone?

Bằng sáng chế cho ý tưởng này được công nhận năm 2011 và đây không phải lần đầu tiên Apple thể hiện sự quan tâm của mình với công nghệ màn hình dẻo.

Đây cũng là công nghệ mà mọi người hi vọng có thể sẽ thấy trên Apple iWatch. Tuy nhiên, bằng sáng chế là một chuyện, còn thực tế trên sản phẩm lại là một vấn đề khác. Không ai có thể đảm bảo Apple sẽ cho ra mắt chiếc điện thoại với màn hình tròn, bao bọc quanh máy.

theo kienthuc
tonny_thuong_is_offline  
Attached Thumbnails
Click image for larger version

Name:	1.jpg
Views:	17
Size:	21.1 KB
ID:	455016  
Old 03-30-2013   #2
jojolotus
R9 Tuyệt Đỉnh Tôn Sư
 
jojolotus's Avatar
 
Join Date: Dec 2008
Posts: 41,760
Thanks: 0
Thanked 0 Times in 0 Posts
Mentioned: 0 Post(s)
Tagged: 0 Thread(s)
Quoted: 0 Post(s)
Rep Power: 58
jojolotus Reputation Uy Tín Level 1jojolotus Reputation Uy Tín Level 1
Default Lộ 'tin mật' màn hình iPhone tương lai

Trong khi chúng ta đang chờ đợi thế hệ điện thoại với màn hình dẻo của Samsung ra mắt, thì Apple có lẽ cũng kịp tung ra điện thoại màn hình dẻo bọc quanh.

Trang mạng Apple Insider mới đưa tin về kế hoạch ra mắt màn hình dẻo cùng thiết bị trong suốt của Apple, và đây có thể là thiết kế mới cho thế hệ tiếp sau của iPhone.



Thiết kế tương lai của điện thoại iPhone?

Thực tế, nó miêu tả một chiếc điện thoại với 2 màn hình dẻo cùng làm việc. Thân máy làm bằng kính, có thể sử dụng màn hình AMOLED, bao quanh thiết bị.

Bằng sáng chế cho ý tưởng này được công nhận năm 2011, và đây không phải lần đầu tiên Apple thể hiện sự quan tâm của mình với công nghệ màn hình dẻo.

Đây cũng là công nghệ mà mọi người hy vọng có thể sẽ thấy trên Apple iWatch. Tuy nhiên, bằng sáng chế là một chuyện, còn thực tế trên sản phẩm lại là một vấn đề khác. Không ai có thể đảm bảo Apple sẽ cho ra mắt chiếc điện thoại với màn hình tròn, bao bọc quanh máy.

Theo Kiến thức
jojolotus_is_offline  
Attached Thumbnails
Click image for larger version

Name:	avatar.jpg
Views:	9
Size:	4.1 KB
ID:	455324  
 

Tags
ấn tượng, apple, iphone, màn hình, màn hình dẻo
User Tag List



 
Lên đầu Xuống dưới Lên 3000px Xuống 3000px

VietBF Homepage Autoscroll

VietBF Video Autoscroll Portal

USA News Autoscroll Portall

VietBF WORLD Autoscroll Portal

Home Classic

Super Widescreen

Tin nóng nhất 24h qua

Tin nóng nhất 3 ngày qua

Tin nóng nhất 7 ngày qua

Tin nóng nhất 30 ngày qua

Albums

Total Videos Online
Lên đầu Xuống dưới Lên 3000px Xuống 3000px

Tranh luận sôi nổi nhất 7 ngày qua

Tranh luận sôi nổi nhất 14 ngày qua

Tranh luận sôi nổi nhất 30 ngày qua

10.000 Tin mới nhất

Tin tức Hoa Kỳ

Tin tức Công nghệ
Lên đầu Xuống dưới Lên 3000px Xuống 3000px

Super News

School Cooking Traveling Portal

Enter Portal

Series Shows and Movies Online

SERIES ONLINE 1

Donation Ủng hộ $3 cho VietBF
Lên đầu Xuống dưới Lên 3000px Xuống 3000px
Diễn Đàn Người Việt Hải Ngoại. Tự do ngôn luận, an toàn và uy tín. Vì một tương lai tươi đẹp cho các thế hệ Việt Nam hãy ghé thăm chúng tôi, hãy tâm sự với chúng tôi mỗi ngày, mỗi giờ và mỗi giây phút có thể. VietBF.Com Xin cám ơn các bạn, chúc tất cả các bạn vui vẻ và gặp nhiều may mắn.
Welcome to Vietnamese American Community, Vietnamese European, Canadian, Australian Forum, Vietnamese Overseas Forum. Freedom of speech, safety and prestige. For a beautiful future for Vietnamese generations, please visit us, talk to us every day, every hour and every moment possible. VietBF.Com Thank you all and good luck.

Lên đầu Xuống dưới Lên 3000px Xuống 3000px

All times are GMT. The time now is 08:24.
VietBF - Vietnamese Best Forum Copyright ©2005 - 2025
User Alert System provided by Advanced User Tagging (Pro) - vBulletin Mods & Addons Copyright © 2025 DragonByte Technologies Ltd.
Log Out Unregistered

Page generated in 0.11475 seconds with 13 queries